当前位置:首 页 > 服务范围 > F部--机械工程

一种利用热管减缓高温热水循环泵热疲劳的装置
添加时间:2023-11-24 浏览次数: 219

专利号:2015102299296

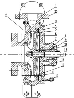
本发明涉及输送高温介质的泵,特指一种利用热管减缓高温热水循环泵热疲劳的装置。包括泵体、叶轮、热管、附轮和泵盖,其中泵体内壁面径向加工螺纹盲孔,与外表面同样带有螺纹的热管配合,泵体外表面周向布置轴向直肋片,加强泵体的散热,附轮与叶轮轮毂过渡配合。该结构可以防止高温热水循环泵在运行过程中,泵内的热水与密封清洗液直接接触,避免了在冷热流体混合区,温度梯度过大,主轴和泵盖表面产生热疲劳裂纹,降低使用寿命。本发明可以对现有的高温热水循环泵的结构进行改造,减缓热疲劳的发生,从而实现高温热水循环泵的安全、可靠的运行。


友情链接
FRIENDSHIP LINK
惠企知识产权研究院    
联系电话:0631-5166712 联系地址:山东省威海市火炬高技术产业开发区火炬路169-1号202室内 联系邮箱:weihaihuicheng@163.com
版权所有:山东惠诚睿智知识产权有限公司 鲁ICP备2023018370号-1