双耳板式方管柱与H型钢架可变梁高装配节点
一种自复位防屈曲支撑梁柱结点
一种针对工作面顶板离层水害的地面抽水孔抽
纠正静止卫星地表上行长波辐射产品热辐射方
基于贝叶斯模型平均方法的地表组分温度多算
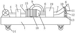
一种矿山井下降温除湿装置及方法
一种金属矿的安全监测系统及方法
一种金属矿井开采用通风系统及方法
一种动态的桥梁结构多阶频率识别方法