一种具有压电阻尼的船舶用螺旋桨叶片及制备
一种金属管类零件热态金属气压成型模具
一种焊条自动焊接系统及自动焊接方法
线轨滑块夹紧制动装置
一种包衣造粒机过滤器用吹扫装置
一种光能转化率高的防水太阳能路灯
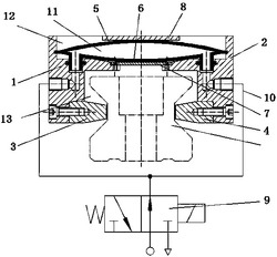
磨床液压缸防撞急停液压系统及其控制方法
一种用于热水器内部热交换器管道连接处渗漏
集中供热锅炉房集约型热电联产电力自给系统